Адаптер для мотоблока своими руками: виды самодельной конструкции, способы изготовления, размеры и чертежи

Практически все владельцы приусадебных участков для проведения своих работ нуждаются в специализированной технике. За земельным участком необходимо постоянно осуществлять уход: рыхлить, пахать, окучивать грядки. Если все это делать вручную, то придется затратить много времени и сил. Не каждый справится с этим, особенно пожилые люди. Вот поэтому и были созданы мотоблоки, с помощью которых довольно легко обрабатывать землю. Но возникает один нюанс – адаптер, представляющий собой специальное навесное оборудование и помогающий возделывать землю. Такое оборудование обойдется очень дорого, поэтому адаптер к мотоблоку многие изготавливают своими руками.

Что такое адаптер для мотоблока

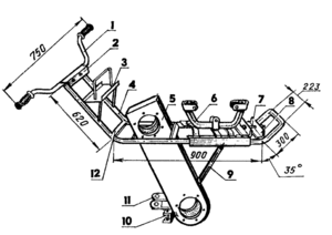
Чертежи адаптера для мотоблока

Адаптер своим внешним видом напоминает двухколесный прицеп, который дополнительно оснащается сиденьем. При его установке на мотоблок все садово-огородные работы значительно упрощаются, потому что автоматизируются. Самодельный адаптер в несколько раз повышает производительность и уменьшает трудоемкость выполнения сельскохозяйственных работ. Это приспособление способно превратить мотоблок в мини-трактор и сделать его функциональным и незаменимым.

У некоторых моделей имеется специальный рычаг для подъема, который делает управление механизмов более комфортным. В случае необходимости мотоблок используют для перевозки небольших грузов.

В зависимости от целей использования техники дышла бывают:

  • удлиненные (для габаритных машин);
  • укороченные (для легких конструкций).

Для подсоединения адаптера к мотоблоку используют одинарную увеличенную сцепку, которая состоит из двух частей. Первая выступает в качестве связующего звена, а вторая является регулятором. Если возникает необходимость оснастить оборудование одновременно несколькими орудиями, то используют уже двойную универсальную сцепку.

Как собрать адаптер для мотоблока своими руками

Можно выполнить более простую и усложненную конструкцию. Ниже будут приведены оба этих варианта.

Сборка простого варианта адаптера для мотоблока своими руками

Для его изготовления понадобятся:

  • Адаптер своими руками по чертежутрубы прямоугольного сечения;
  • колеса;
  • швеллер №10 длиной 40 см;
  • сцепной узел;
  • сварочный аппарат;
  • подшипники;
  • крепежные болты;
  • сидение.

Перед началом работ необходимо создать чертеж. Можно воспользоваться уже готовыми схемами или сделать их самостоятельно.

После этого приступают к работам. Сначала разрезают трубу на отрезки размерами 1,7 и 0,5 м. Конец короткой трубы приваривают к длинной, причем строго перпендикулярно. Она будет являться основанием для крепления колесных стоек. Сразу делают отметки по 30 см, обозначающие высоту стоек от оси.

Затем на втулки прикрепляют колеса, которые можно использовать от старой садовой тележки. На втулки сначала прикрепляют подшипники, после чего при помощи сварки приваривают раскосы на центральную трубу втулки.

Рамы изготавливаются размерами 40х40 см, но в случае необходимости эти размеры уменьшают или увеличивают. К заднему концу рамы при помощи сварки прикрепляют швеллер, а боковые трубы соединяют друг с другом болтами. Также на раму устанавливают рычаг. Для увеличения силы регулировки устанавливают дополнительный рычаг длиной 75 см.

Довольно часто сцепные узлы приобретают в магазинах. Но следует заметить, что этот элемент обязательно должен быть высокого качества. Поэтому если планируется изготовить его своими руками, то качеству необходимо уделить особое внимание.

Сидение прикрепляют к металлической опоре, которую заранее приваривают к основе рамы, т. е. центральной трубе.

Сборка усложненного варианта адаптера для мотоблока своими руками

Чтобы изготовить такой адаптер к мотоблоку, потребуются:

  • Как собрать адаптер для мотоблокастальные трубы;
  • листовая сталь;
  • сидение;
  • уголки;
  • пара колес;
  • сварочный аппарат.

Такой адаптер для мотоблока будет являться более функциональным. Собранной техникой можно не только обрабатывать землю, но и использовать для перевозки грузов. Дополнительно применяют борона, плуги, окучиватели и т. д. А в зимнее время мотоблок можно оснастить скребком для уборки снега.

Такая конструкция состоит из следующих элементов:

  • обод;
  • сидение;
  • колеса;
  • приспособления для сцепки.

Перед началом работ создают кинематическую схему. Это необходимо для того, чтобы правильно рассчитать все нагрузки. Также можно воспользоваться готовыми чертежами.

Изготавливая раму, не стоит забывать об установке вилки с втулкой, которые необходимы для свободного поворота прицепа. Стальной лист необходим для кузова. Сцепной узел выглядит следующим образом: железный штырь размером 15 см вводят в апертуру дышла, имеющего форму буквы «П». Однако следует заметить, что этот вариант быстро изнашивается, так как из-за регулярного вращения прицепа очень быстро приходят в негодность сцепные отверстия. В этом случае необходимо П-подобную цепку удлинить.

Крепление сидения осуществляется на расстоянии в 80 см от переднего торца рамы. Такой процесс осуществляют при помощи болтов.

Таким образом, изготовить самодельный адаптер к мотоблоку не так уж и сложно. Поэтому нет необходимости покупать дорогую технику, когда можно сделать ее своими руками. Все элементы можно купить в магазине или найти в сарае на своем дачном участке. Правильно созданная конструкция позволит дачникам значительно облегчить себе тяжелую физическую работу.

Ссылка на основную публикацию